MIT OpenCourseWare
  • OCW home
  • Course List
  • about OCW
  • Help
  • Feedback
  • Support MIT OCW

Projects

13.017/13.018 Challenge
Following are the Challenge Statements given for the 13.017/018 class.This is the fundamental document for the class; the students receive it on the first day of 13.017, and it defines what is the topic and scope of their year-long endeavor.
2003 Topic: Wave Power Generation
The oceans play a leading role in the control of Earth's climate. Unfortunately, human activity is having an ever greater effect on the global climate, principally through the emission of greenhouse gasses through the widespread combustion of fossil fuels for energy. This activity is overloading the natural control systems of the earth (such as the oceans) potentially resulting in dramatic climactic disruptions. In addition to controlling climate, the oceans have the potential to help reduce the deleterious effects of human activity. One important way is as a source of clean energy. There are several leading strategies for capturing power from the oceans, including turbines run by tidal flows, thermal energy conversion, and wave energy. Wave energy, the topic of this year's 13.017/018 challenge, is created over short time scales by atmospheric winds, which in turn are powered by solar radiation -- solar panels aside, wave power is a very direct approach to harvesting renewable energy. There are many different types and shapes of wave energy conversion devices to choose from, and some that have not yet been invented! Wave power in typical offshore sea conditions can reach tens of kilowatts per square meter: an efficient technology for harvesting wave energy could easily generate a megawatt for every kilometer equipped.

Specific Objectives of the Challenge:

  1. Determine the power available in the wave action of the Charles River, including dependency on wind.
  2. Design and construct a device to convert wave power into electrical power.
  3. Measure the power output and efficiency of your wave energy converter.

Areas of Ocean Engineering that the Challenge Involves:

  1. Physical Oceanography
  2. World and Regional Energy Issues
  3. Ocean Waves
  4. Dynamics of Systems
  5. Structural Design
  6. Sensors and Data Acquisition
  7. System-level Design
  8. Mechanical and Electrical Fabrication and Integration

Result: Work in Progress!

2002 Topic: SWATH Boat
  1. To build and demonstrate a working remote-control SWATH* boat model, addressing the following engineering areas:
    • Structural Design For Strength
    • Response In Waves
    • Static Trim
    • Electronics And Power Systems
    • Water-Proofing
    • Propulsion
    • Steering Control

  2. To develop and demonstrate methods for measuring and correcting vessel pitch instability at higher speeds.
  3. For both steps 1) and 2), to quantify the performance of the model in rejecting wave disturbances.

*SWATH: Small Waterplane-Area Twin Hull

Result: The SWATH boat developed by this class was named Pipe Dream.

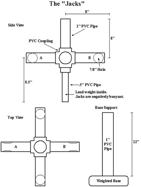
2001 Topic: Object Retrieval with an ROV
Design and build a remote-operated vehicle that can:
  1. Retrieve a "jack"* from the bottom of the Alumni Pool.
  2. Place 3 jacks on the bottom of the Alumni Pool and stack them on a base support.

Note: The vehicle must pass through a tunnel on the bottom of the pool to accomplish these goals. The tunnel will be a 9' long PVC pipe frame with a 3' square cross-section.

* Jacks are defined below.

Result: The ROV developed by this class was named Tetragonos.

Schematic of the jacks used  for the 2001 object retrieval challenge. 

Schematic of the jacks used for the 2001 object retrieval challenge.
2000 Topic: Object Search and Mapping with an AUV
Use Autolycus (with its new thrusters and sonar system) to perform a systematic survey of the swimming pool, to locate one or more distinctive objects that will be placed on the bottom of the swimming pool and/or suspended in the water column. The objects will be 12 inch diameter PCV pipe sections.

Variations: 

  1. Conduct a survey that is most energy efficient. How can you minimize the number of Joules required to perform a complete survey of the tank?
  2. Conduct the fastest survey. How do you maximize vehicle speed while maintaining sufficient control authority to perform a good survey, with no gaps?

Result: This class developed a new AUV -- Delphini -- to accomplish their design challenge.

1999 Topic: AUV Guidance
Your goal for course 13.018 (Design of Ocean Systems II) is to make Autolycus* do the following:
  1. Circumnavigate the pool in at most 4 minutes while:
    • Maintaining a constant depth of 2 m.
    • Maintaining a constant 1 m distance from the pool's walls.
    • Logging the following data at a sampling rate of at least 2 Hz :
      • Speed in meters/sec.
      • Heading in degrees relative some fixed direction (your choice).
      • Depth in meters.
      • Range to the wall in meters.
      • Power consumption in watts.

  2. At the beginning of the mission we will toss a coin to determine if the vehicle moves counter-clockwise or clockwise around the pool.
  3. The vehicle must begin and end its mission at the same place.
  4. You must devise a way to independently measure the vehicle's trajectory during the mission. You will compare this data with the vehicle's path calculated from the data returned by the vehicle in order to assess the how well the mission fulfilled the challenge.

*Autolycus is the AUV developed by the 1997 class.

1998 Topic: Dead-Reckoning Navigation with an AUV
  1. Develop and integrate the sensors necessary to give the AUV Autolycus* the ability to navigate using dead-reckoning
  2. In particular design and build a speed sensor for the vehicle that can measure slow speeds (< .5 m/sec).
  3. Program Autolycus to travel along a triangular trajectory in the Alumni Pool using dead-reckoning.
  4. Have Autolycus perform this mission and evaluate its performance.


*Autolycus is the AUV developed by last year's class.

1997 Topic: AUV Design
Design a small autonomous underwater vehicle (AUV) with the following characteristics:
  1. The vehicle should be about 1 meter long and 15 cm in diameter.
  2. It should weigh about 20 kg.
  3. It should be modular and easily re-configured for a variety of missions.
  4. It should be capable of powered motion in:
    • Surge
    • Heave
    • Yaw
    • Pitch

  5. It should be battery-powered and use electric motors.
  6. There should be an onboard computer that gives the vehicle autonomous capability.
  7. There should be feedback control of thruster speed.
  8. There should be sensors for pitch, yaw rate (gyro), yaw position (a compass), depth (pressure), and thruster speed
  9. It should be tested in a simple mission in the Alumni Pool and its performance should be evaluated.


Result: This class designed and built the AUV Autolycus that was used in 13.017/018 for 1998 and 1999.